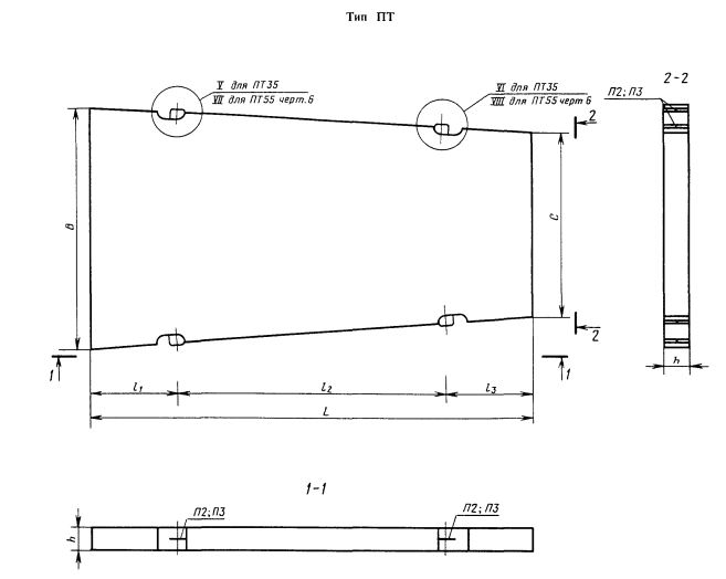
1ПТ 55

Чертеж изделия:
Характеристики изделия:
ПараметрЗначение
длина5500 мм
ширина2000/1500 мм
высота140 мм
масса3350 кг
нормативный документГОСТ 21924.0-84

1ПТ 55  Плита трапецеидальная для постоянных дорог. ГОСТ 21924.0-84.