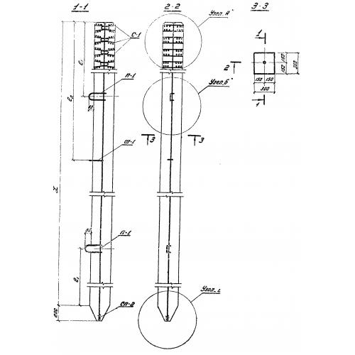
СЦ 11-30

Чертеж изделия:
Характеристики изделия:
ПараметрЗначение
длина11000 мм
ширина300 мм
высота300 мм
вес2453 кг
серия1.011-2

СЦ 11-30 Сваи квадратного сечения без поперечного армирования ствола по серии СТ 02-33.