2КНО 48.60

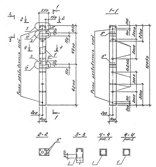
Чертеж изделия:
Характеристики изделия:
ПараметрЗначение
длина12050 мм
ширина400 мм
высота550 мм
масса4880 кг
нормативный документСерия 1.020.1-4

2КНО 48.60    Колонны одноконсольные для нижних этажей (Серия 1.020.1-4).

Маркировка с учетом диаметра угловых и промежуточных стержней арматуры, в мм. и марки бетона:

2КНО 48.60-3.20.00

2КНО 48.60-3.25.00

2КНО 48.60-3.28.00

2КНО 48.60-3.32.00

2КНО 48.60-4.32.00

2КНО 48.60-5.32.00

2КНО 48.60-3.36.00

2КНО 48.60-4.36.00

2КНО 48.60-5.36.00

2КНО 48.60-4.40.00

2КНО 48.60-5.40.00

2КНО 48.60-5.32.28

2КНО 48.60-6.32.28

2КНО 48.60-5.36.32

2КНО 48.60-6.36.32

2КНО 48.60-6.40.36

2КНО 48.60-6.40.22