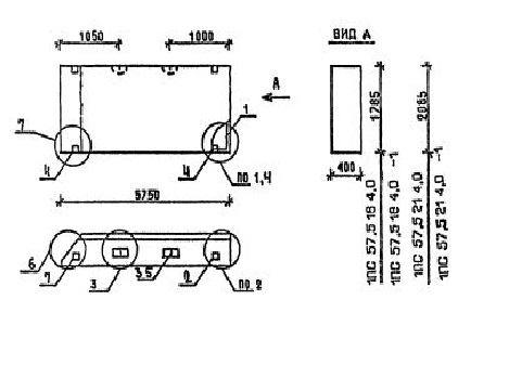
ПС 57.5.18.4.0 панели стеновые

Чертеж изделия:
Характеристики изделия:
ПараметрЗначение
длина5750 мм
ширина400 мм
высота1785 мм
масса5730 кг
нормативный документСерия 1.030.1-1/88

ПС 57.5.18.4.0  Панели стеновые Серия 1.030.1-1/88.