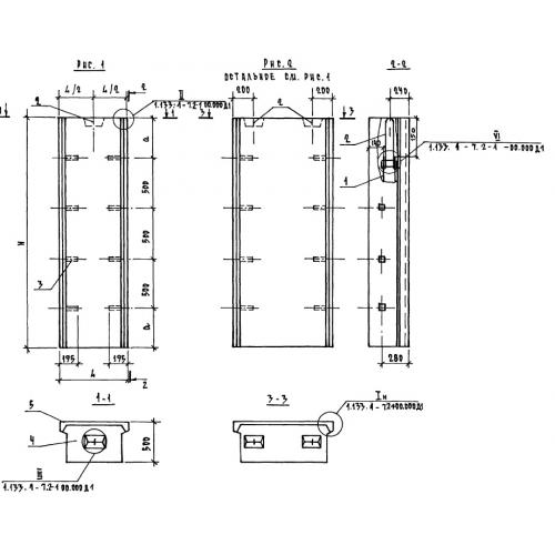
1БНЛ 8.27.50

Чертеж изделия:
Характеристики изделия:
ПараметрЗначение
длина865 мм
ширина500 мм
высота2680 мм
вес1230 кг
серия1.133.1-7

1БНЛ 8.27.50 Блок простеночный лоджий по серии 1.133.1-7.