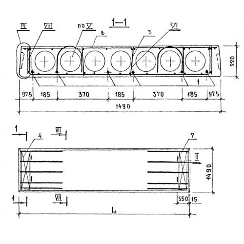
ПК 60.15 Плиты перекрытия железобетонные многопустотные

Чертеж изделия:
Характеристики изделия:
ПараметрЗначение
длина5980 мм
ширина1490 мм
высота220 мм
масса2800 кг
нормативный документСерия 1.141-1

ПК 60.15  Плиты перекрытия железобетонные многопустотные Серия 1.141-1.