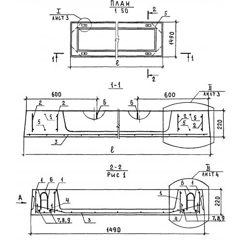
ПР 60.15

Чертеж изделия:
Характеристики изделия:
ПараметрЗначение
длина5980 мм
ширина1490 мм
высота220 мм
вес2800 кг
серия1.242.1-3

ПР 60.15 Плиты ребристые по серии 1.242.1-3.