ЛК 75.120.45 лотки

Чертеж изделия:
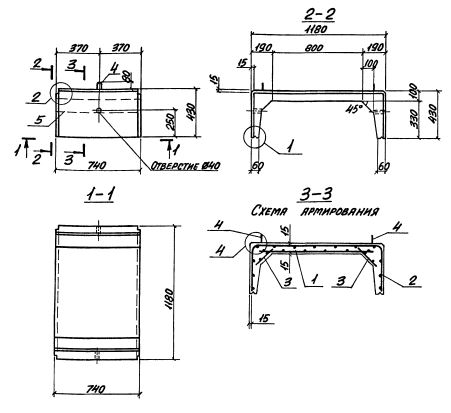
Характеристики изделия:
ПараметрЗначение
длина740 мм
ширина1180 мм
высота430 мм
масса340 кг
нормативный документСерия 3.006.1-8

ЛК 75.120.45  Лотки каналов Серия 3.006.1-8.