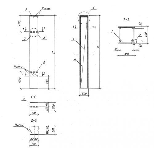
К 2 колонна сборная

Чертеж изделия:
Характеристики изделия:
ПараметрЗначение
длина6000 мм
ширина300 мм
высота300 мм
масса1400 кг
нормативный документСерия 3.015-1/92

К 2  Колонны сборные Серия 3.015-1/92.