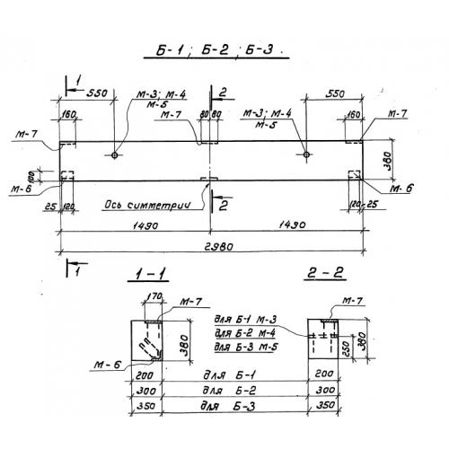
Б-2
Характеристики изделия:
| Параметр | Значение |
|---|---|
| длина | 2980 мм |
| ширина | 300 мм |
| высота | 380 мм |
| вес | 300 кг |
| серия | 3.016-3 |
Цена:
Рассчитать стоимостьБ-2 Керамзитобетонные блоки по серии 3.016-3.
| Параметр | Значение |
|---|---|
| длина | 2980 мм |
| ширина | 300 мм |
| высота | 380 мм |
| вес | 300 кг |
| серия | 3.016-3 |
Б-2 Керамзитобетонные блоки по серии 3.016-3.
