ПК 2

Чертеж изделия:
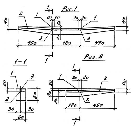
Характеристики изделия:
ПараметрЗначение
длина1080 мм
ширина60 мм
высота80 мм
масса10 кг
нормативный документСерия 3.016.1-9

ПК 2  Полки кабельные Серия 3.016.1-9.