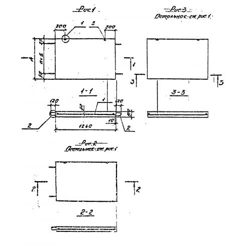
ПЭ 4.12.21

Чертеж изделия:
Характеристики изделия:
ПараметрЗначение
длина1240 мм
ширина100 мм
высота2080 мм
вес640 кг
серия3.019.1-2

ПЭ 4.12.21 Панели экрана по серии 3.019.1-2.