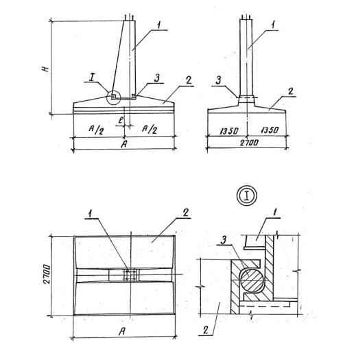
Ф 2.7-3.5 Фундамент составной
Характеристики изделия:
| Параметр | Значение |
|---|---|
| длина | 3500 мм |
| ширина | 2700 мм |
| высота | 3200 мм |
| масса | 5020 кг |
| нормативный документ | Серия 3.407.1-144 |
Цена:
Рассчитать стоимостьФ 2.7-3.5 Фундаменты под промежуточные опоры по Серии 3.407.1-144.
