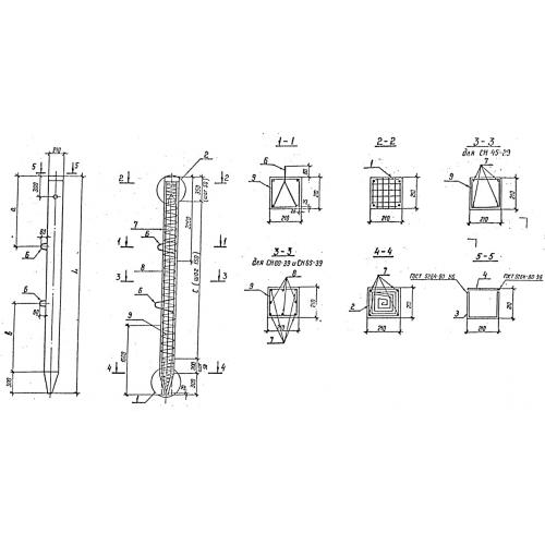
СН 65-39 Сваи квадратного сечения

Чертеж изделия:
Характеристики изделия:
ПараметрЗначение
длина6500 мм
ширина210 мм
высота210 мм
масса750 кг
нормативный документСерия 3.407.1-157

СН 65-39  Сваи предварительно напряженные по Серии 3.407.1-157.