БП 135

Чертеж изделия:
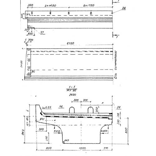
Характеристики изделия:
ПараметрЗначение
длина13500 мм
ширина2420 мм
высота1213 мм
вес50400 кг
Серия3.501.1-146

БП 135 Балки с пониженной строительной высотой по  Серии  3.501.1-146.