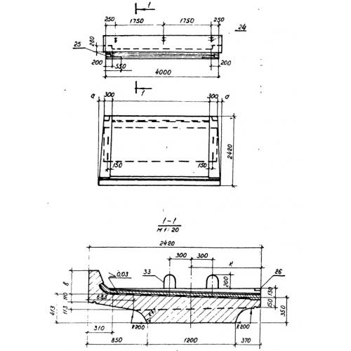
БП 40
Характеристики изделия:
| Параметр | Значение |
|---|---|
| длина | 4000 мм |
| ширина | 2420 мм |
| высота | 963 мм |
| вес | 9000 кг |
| Серия | 3.501.1-146 |
Цена:
Рассчитать стоимостьБП 40 Балки с пониженной строительной высотой по Серии 3.501.1-146.
| Параметр | Значение |
|---|---|
| длина | 4000 мм |
| ширина | 2420 мм |
| высота | 963 мм |
| вес | 9000 кг |
| Серия | 3.501.1-146 |
БП 40 Балки с пониженной строительной высотой по Серии 3.501.1-146.
