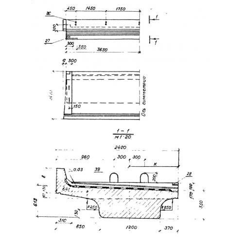
БП 73

Чертеж изделия:
Характеристики изделия:
ПараметрЗначение
длина7300 мм
ширина2420 мм
высота1163 мм
вес21300 кг
Серия3.501.1-146

БП 73 Балки с пониженной строительной высотой по  Серии  3.501.1-146.