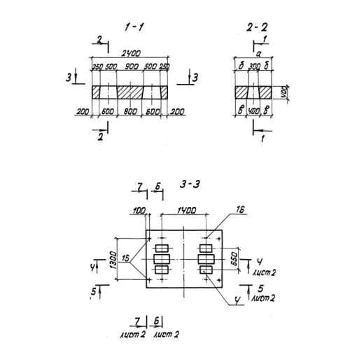
Р ригель
Характеристики изделия:
| Параметр | Значение |
|---|---|
| длина | 2400 мм |
| ширина | 1800 мм |
| высота | 400 мм |
| вес | 4000 кг |
| серия | 3.501.1-165 |
Цена:
Рассчитать стоимостьР Ригели для безростверковых опор по серии 3.501.1-165.
| Параметр | Значение |
|---|---|
| длина | 2400 мм |
| ширина | 1800 мм |
| высота | 400 мм |
| вес | 4000 кг |
| серия | 3.501.1-165 |
Р Ригели для безростверковых опор по серии 3.501.1-165.
