ПК 305

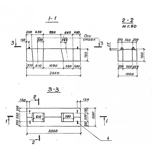
Чертеж изделия:
Характеристики изделия:
ПараметрЗначение
длина3050 мм
ширина1000 мм
высота700 мм
вес4200 кг
серия3.503-49

ПК 305 Блоки подколонника по серии 3.503-49.