П-2

Чертеж изделия:
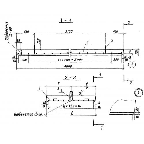
Характеристики изделия:
ПараметрЗначение
длина4000 мм
ширина1240 мм
высота150 мм
вес1800 кг
серия3.503.1-53

П-2 Плиты переходные по серии 3.503.1-53.