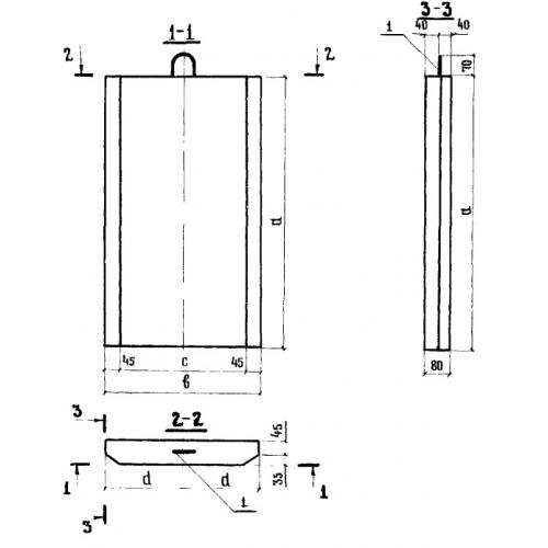
П-1 блок плиты

Чертеж изделия:
Характеристики изделия:
ПараметрЗначение
длина1050 мм
ширина690 мм
высота80 мм
вес140 кг
серия3.503.1-66

П-1 Блоки плит по серии 3.503.1-66.