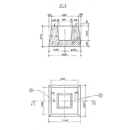
Ф-1

Чертеж изделия:
Характеристики изделия:
ПараметрЗначение
длина1300 мм
ширина1300 мм
высота850 мм
вес2620 кг
серия3.507 КЛ-10

Ф-1 Фундаменты по серии 3.507 КЛ-10.