ТП-15

Чертеж изделия:
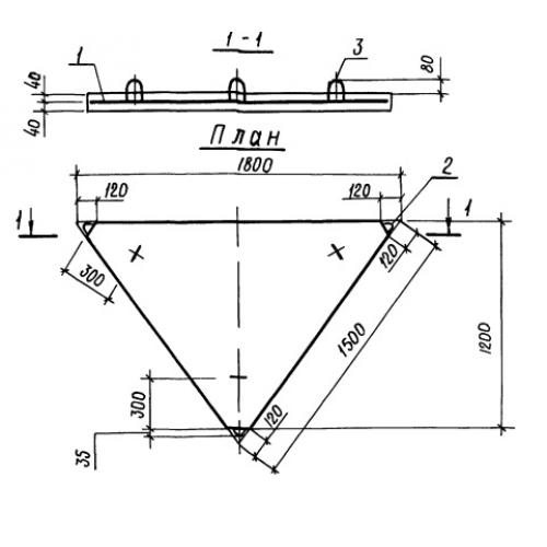
Характеристики изделия:
ПараметрЗначение
длина1800 мм
ширина1500 мм
высота80 мм
масса200 кг
нормативный документСерия 3.820-6

ТП-15 Плиты плоские треугольные по Серии 3.820-6.