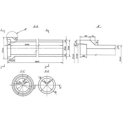
РТ 4-25 Труба безнапорная

Чертеж изделия:
Характеристики изделия:
ПараметрЗначение
длина2600 мм
ширина650 мм
высота650 мм
масса500 кг
нормативный документСерия 3.820-7

РТ 4-25 Трубы  раструбные безнапорные по Серии 3.820-7.