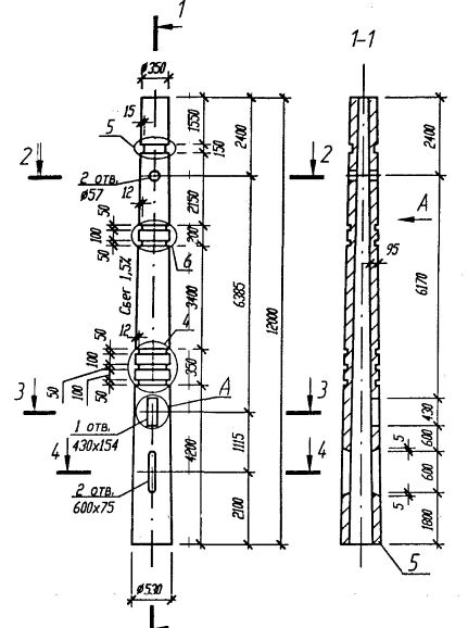
СКЦ 12-127

Чертеж изделия:
Характеристики изделия:
ПараметрЗначение
Длина L12000 мм
Диаметр D1530 мм
Диаметр D2350 мм
Вес3100 кг
СерияБ3.507.1-3.04
Норма погрузки на машину (20тн)6 шт
Вагонная норма погрузки-

Стойка СКЦ 12-127 изготавливается согласно нормам серии Б3.507.1-3.04. Данные стойки предназначены для опор наружного освещения и контактных сетей городского транспорта с кабельной подводкой питания. Стойки СКЦ представляют собой усеченный конус со сквозным каналом внутри.