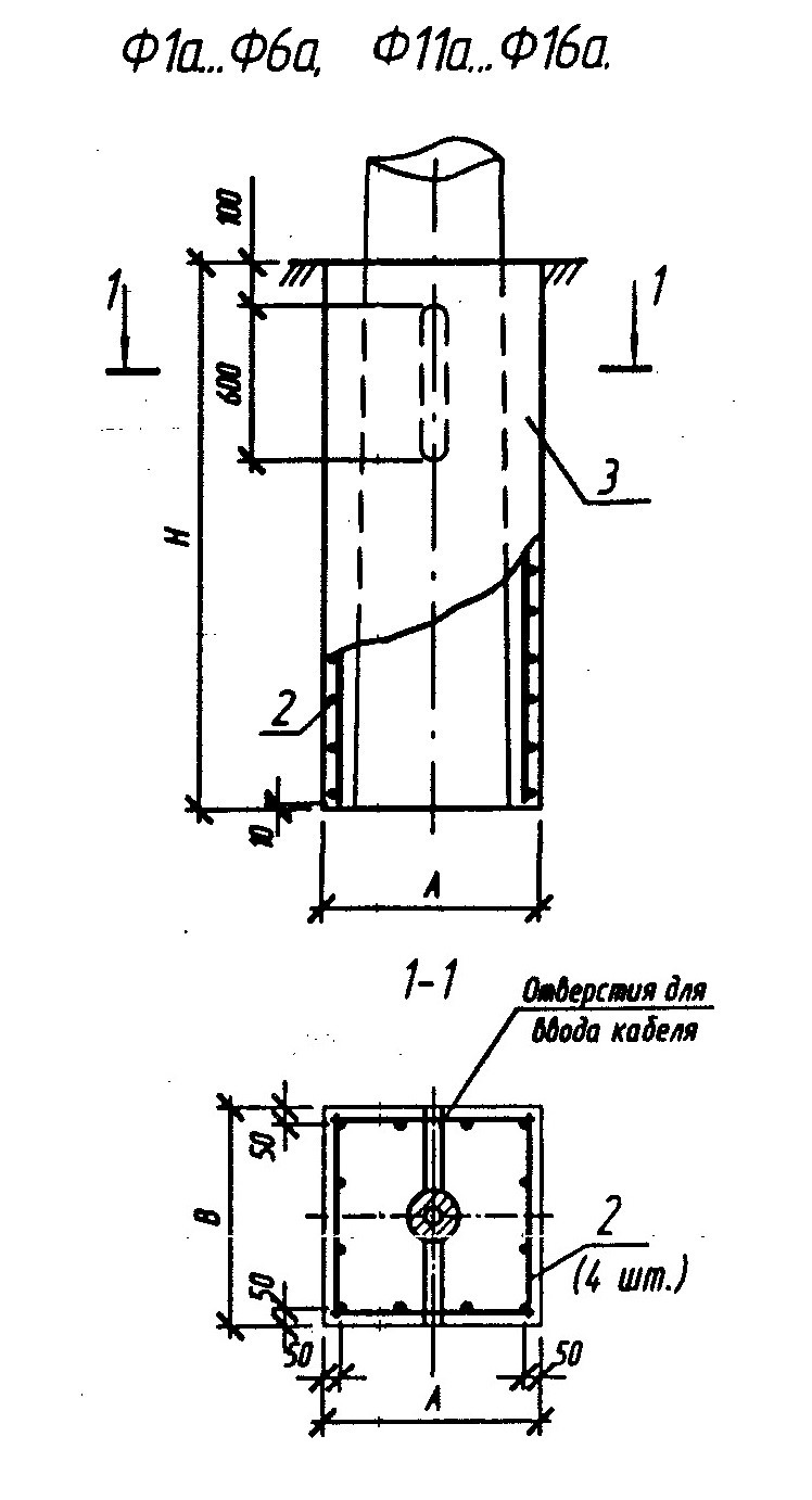
ф 3 а

Чертеж изделия:
Характеристики изделия:
ПараметрЗначение
Высота Н2000 мм
Длина А800 мм
Ширина В800 мм
Вес2575 кг
СерияБ3.507.1-3.04
Норма погрузки на машину (20тн)7 шт
Вагонная норма погрузки-

Фундамент Ф 3 а изготавливается из тяжелого бетона и предназначен для установки стоек СКЦ согласно нормам серии Б3.507.1-3.04.