ПР 20.116.16
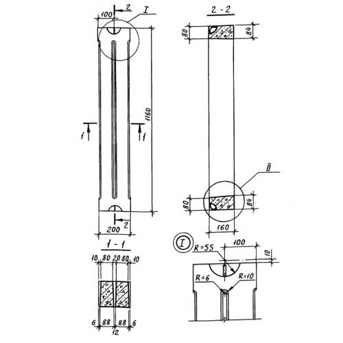
Характеристики изделия:
| Параметр | Значение |
|---|---|
| длина | 1160 мм |
| ширина | 200 мм |
| высота | 160 мм |
| вес | 80 кг |
| шифр | В 019 |
Цена:
Рассчитать стоимостьПР 20.116.16 Плиты решётчатые по Шифру В 019.
| Параметр | Значение |
|---|---|
| длина | 1160 мм |
| ширина | 200 мм |
| высота | 160 мм |
| вес | 80 кг |
| шифр | В 019 |
ПР 20.116.16 Плиты решётчатые по Шифру В 019.
