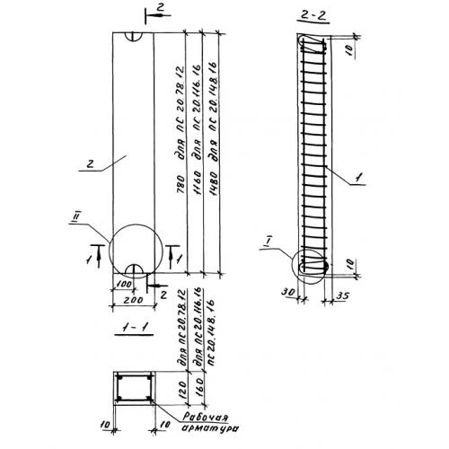
ПС 20.116.16

Чертеж изделия:
Характеристики изделия:
ПараметрЗначение
длина1160 мм
ширина200 мм
высота160 мм
вес93 кг
шифрВ 019

ПС 20.116.16 Плит сплошные по Шифру В 019.